HubbleAgentes IALuffuFitbitXcode 26.3OpenAINvidiaSonyappleChatGPT PlusClaudeSnowflakeGoogleAlphaGenomemicrosoft

Sony Patenta IA Generativa Para Crear Podcasts Personalizados de Videojuegos en PS5

 | febrero 4, 2026 00:55

Sony acaba de dejar una pista bastante jugosa sobre por dónde quiere llevar la experiencia PlayStation: podcasts generados por IA y personalizados según lo que estás jugando, con la vista puesta en PS5… y, sobre todo, en una futura PS6.

La compañía ha registrado una nueva patente que suena a un mensaje bastante claro: vale, la consola no siempre llega a 4K/60, pero podemos entretenerte, acompañarte y ayudarte mientras juegas.

En concreto, el documento se titula “podcasts generativos basados en LLM para jugadores” y está fechado el 22 de enero de 2026, lo que deja claro que no se trata de una idea antigua reciclada, sino de algo pensado para el corto y medio plazo.

Es decir, no hablamos de un simple “resumen del juego” ni de tips genéricos, sino de contenido creado al vuelo por un modelo de lenguaje (LLM), adaptado tanto a tu partida concreta como a tus intereses y hábitos como jugador.

La IA generativa ya no es “un modelo en el navegador”, y Sony quiere su trozo del pastel

La IA generativa ha pasado, en tiempo récord, de ser “cuatro modelos famosos que pruebas en una web” a un ecosistema enorme, con decenas —o cientos— de modelos compitiendo en entrenamiento, coste y velocidad de inferencia. Cuando el mercado se vuelve así de amplio, las grandes empresas dejan de preguntarse “¿esto se puede hacer?” y pasan directamente a “¿qué caso de uso me da una ventaja real?”.

En consolas, esa pregunta es todavía más incómoda, porque la innovación visible en esta generación ha sido, como mínimo, irregular. PS5 es una máquina muy capaz, sí, pero la promesa aspiracional de 4K y 60 FPS generalizados se ha quedado a medias en muchos lanzamientos importantes.

También te puede interesar:Sony Cruza una Línea Sagrada: Permitir que la IA Complete el Juego Cuando te Atascas

Lo que hemos visto con más frecuencia es el ya clásico dilema entre modo Calidad y modo Rendimiento, resolución dinámica, reescalado agresivo y concesiones técnicas que, si sigues el sector, ya ni sorprenden.

nueva patente  “podcasts generativos basados en LLM para jugadores”

A esto se suma que, más allá del salto de potencia y del SSD —que sí ha cambiado flujos de carga y ciertas decisiones de diseño—, no ha sido una generación especialmente revolucionaria en nuevas formas de jugar.

Patentes de Sony llevan tiempo coqueteando con IA, y algunas son pura ciencia ficción práctica

Sony lleva tiempo publicando patentes que integran IA tanto en periféricos como en la propia consola, casi como si estuviera construyendo un catálogo de ideas para la siguiente oleada de productos.

Sony Cruza una Línea Sagrada: Permitir que la IA Complete el Juego Cuando te Atascas

Uno de los ejemplos más llamativos es el de un mando con IA y cámara capaz de predecir el siguiente botón que vas a pulsar, con el objetivo de reducir la latencia. Aunque suene a magia, el planteamiento es puramente ingenieril: recortar milisegundos justo donde más se notan.

A esto se sumó otra patente vista en 2024: un mando con pantalla e IA orientado a la asistencia al jugador, con distintos modos de ayuda según el contexto. La patente nueva, sin embargo, va por otro carril. No es un gadget físico, sino una función o “capa” de contenido generativo pensada para convivir de forma constante con tus sesiones de juego.

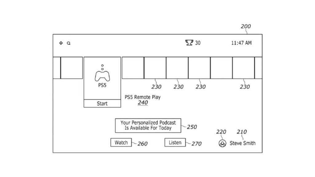
Podcasts “improvisados” para el juego exacto que tienes delante, no para el tema genérico de turno

Hoy hay más podcasts buenos que nunca, también sobre videojuegos. El problema es que casi nunca existe un podcast dedicado justo a ese RPG rarísimo que te compraste en rebajas o a esa side quest concreta en la que llevas atascado dos días.

La patente plantea podcasts generados por IA centrados en videojuegos específicos y adaptados a lo que estás jugando en ese momento, con una finalidad clara: servir como ayuda al jugador sin romper la inmersión.

Sería algo así como tener un “acompañante” que comenta, orienta y entretiene, pero en formato audio y con un tono ligero, más cercano a una conversación que a un tutorial tradicional.

Aquí hay un matiz clave: no serían podcasts largos de 30 o 60 minutos. La idea apunta a contenido corto, improvisado y diseñado para encajar en sesiones reales de juego, más cercano a una píldora que a un programa completo.

Eso encaja con un uso lógico: no es algo para escuchar con los ojos cerrados en el sofá, sino un complemento activo mientras juegas.

Personajes animados, IP de Sony y humor: el “streaming” se les ha subido a la cabeza (para bien)

Sony no se limita a “una voz leyendo consejos”. La patente sugiere que estos podcasts podrían presentarse mediante personajes animados basados en IP de Sony, con voces en off y un tono claramente humorístico.

La idea es que las pistas o el contexto lleguen con un framing tipo “comentario de personaje”, más cercano a un show o a un stream que a un asistente frío y funcional. Aquí también hay una lectura estratégica bastante clara: si lo vistes con IP propias, lo conviertes en marca, lo haces memorable y, de paso, te diferencias del típico asistente genérico sin personalidad.

¿Esto es para PS6 o puede llegar a PS5? Depende de dónde corra el LLM

La gran pregunta es la de siempre: ¿la IA se ejecuta en local o en la nube? El artículo sugiere que esta función podría llegar a PS6 si hiciera falta potencia adicional, aunque tampoco se descarta una implementación en PS5. Si el LLM corre en servidores, PS5 podría limitarse a recibir el audio y los assets generados.

Pero si Sony busca latencias bajas, personalización profunda y menos dependencia de la conexión, tendría sentido reservarlo para hardware más nuevo o apostar por un enfoque híbrido.

Hay otro detalle llamativo: la patente no se limita estrictamente a PlayStation, sino que menciona la posibilidad de expandirse a consolas de Microsoft y Nintendo. Más que una promesa realista, suena a patente defendiendo territorio.

Para personalizar de verdad, la consola tendría que saber demasiado de ti

Los podcasts se han disparado como formato, especialmente en plataformas como Spotify, porque mucha gente alterna música con audio largo o audiolibros. Lo de Sony, sin embargo, no es exactamente “audio largo”: es contenido pegado a tus hábitos de juego.

Para generar un podcast realmente personalizado, el sistema tendría que conocer datos sobre tus partidas, tus preferencias y, en cierta medida, tu comportamiento como jugador. La personalización, al final, se paga con telemetría.

Esto abre de lleno la carpeta de la privacidad: qué datos se recogen, cuánto tiempo se almacenan, si se usan para entrenar modelos, si se puede desactivar todo y si el usuario entiende realmente lo que está aceptando.

Si Sony quiere que esto sea algo más que una demo curiosa, tendrá que hacerlo útil sin cruzar líneas incómodas. Veremos si la competencia responde y, sobre todo, si esta patente termina convirtiéndose en una función real o se queda en el cajón de ideas.

Lo que sí parece claro es que la próxima gran batalla de consolas no va solo de teraflops, sino de capas de IA que te acompañan —y te hablan— mientras juegas.

Copyright © gptzone.net

La Newsletter Diaria Sobre Inteligencia Artificial. Además: Portal de Noticias, Tutoriales, Tips y Trucos de ChatGpt, Openai e Inteligencia Artificial.

Nuestra web está alojada en:

hosting raiola

Suscríbete a nuestra Newsletter Diaria sobre IA

 

Suscríbete a GptZone y recibe cada día TOTALMENTE GRATIS:

 

  • 📰 Noticias Exclusivas de Inteligencia Artificial.
  • 🤖 Prompts Creativos y prácticos.
  • 🎥 Videos Inspiradores sobre IA.
  • 🛠️ Apps Recomendadas para revolucionar tu día a día.

Te has suscrito Satisfactoriamente!

linkedin facebook pinterest youtube rss twitter instagram facebook-blank rss-blank linkedin-blank pinterest youtube twitter instagram